首页
专利数据库
产业人才
行业动态
产业政策法规
维权援助
个人中心
登录/注册
详情
文本
图像
标题:
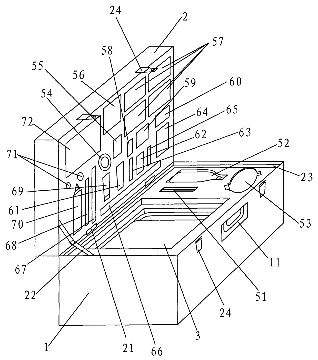
战创伤超声急救箱
授权日:
2011-08-10
公开(公告)号:
CN201921005U
申请日:
2010-11-22
公开(公告)日:
2011-08-10
当前申请(专利权)人:
中国人民解放军总医院
发明人:
唐杰 | 罗渝昆 | 吕发勤 | 费翔 | 王月香 | 焦子育 | 何恩辉
简单同族:
CN201921005U
简单同族成员数量:
1
简单同族被引用专利总数:
8
诉讼案件数:
0
法律状态/事件:
授权