首页
专利数据库
产业人才
行业动态
产业政策法规
维权援助
个人中心
登录/注册
详情
文本
图像
标题:
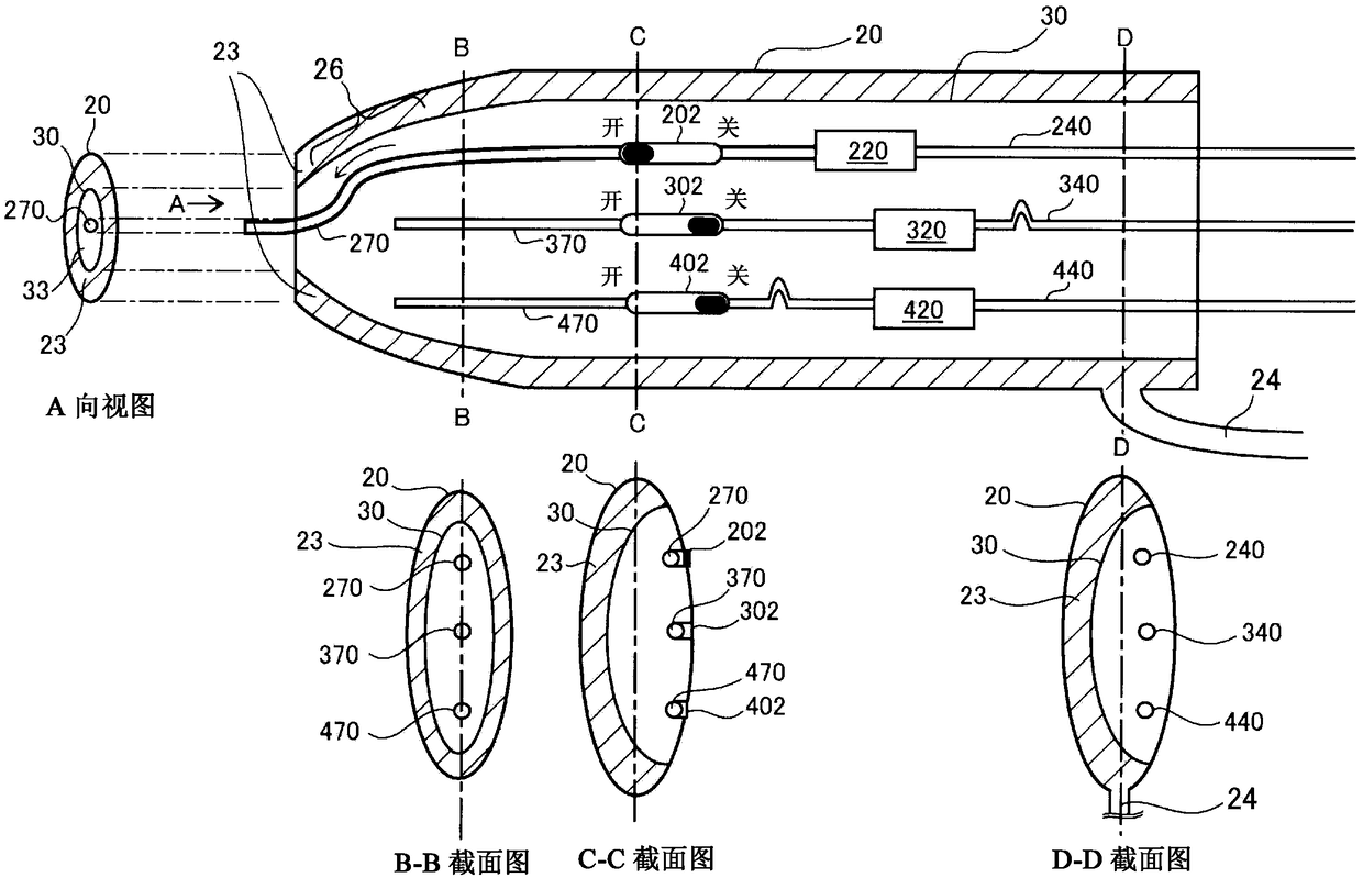
医疗用液体喷射装置
授权日:
1900-01-01
公开(公告)号:
CN104434264A
申请日:
2014-09-15
公开(公告)日:
2015-03-25
当前申请(专利权)人:
精工爱普生株式会社
发明人:
关野博一 | 宫崎浩一郎
简单同族:
CN104434264A | JP2015058234A | US20150088123A1
简单同族成员数量:
3
简单同族被引用专利总数:
6
诉讼案件数:
0
法律状态/事件:
撤回