首页
专利数据库
产业人才
行业动态
产业政策法规
维权援助
个人中心
登录/注册
详情
文本
图像
标题:
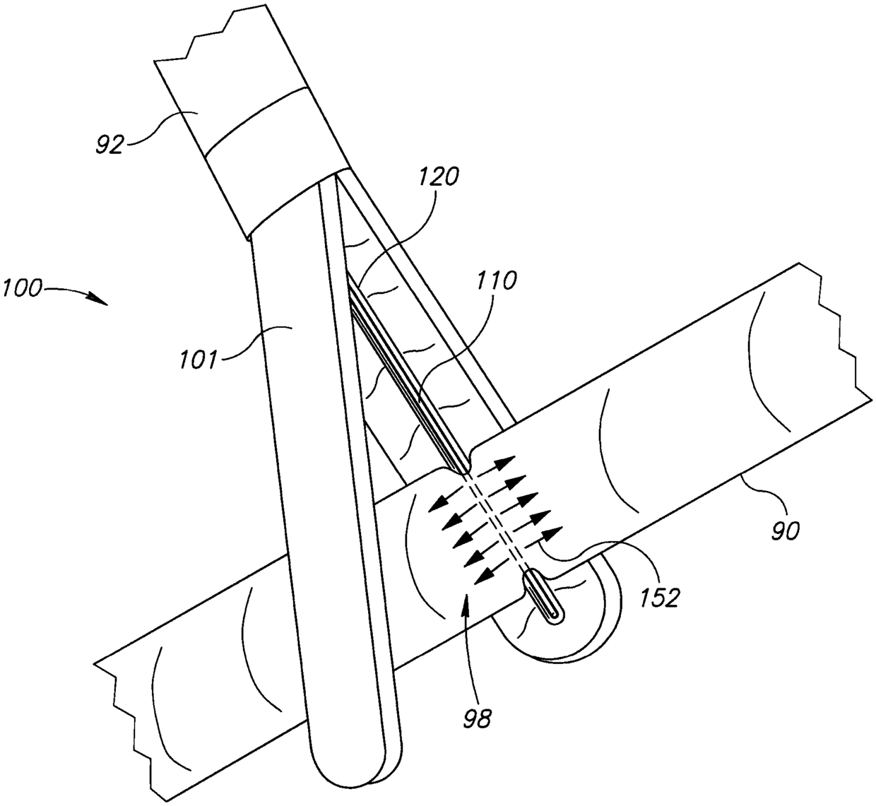
脉管封闭和切割设备、方法及系统
授权日:
1900-01-01
公开(公告)号:
CN105592815A
申请日:
2014-07-17
公开(公告)日:
2016-05-18
当前申请(专利权)人:
阿西梅特里克医疗有限公司
发明人:
摩西·艾希柯 | 奥里·韦斯伯格
简单同族:
CN105592815A | EP3021778A1 | EP3021778A4 | EP3021778B1 | JP2016526999A | KR1020160044483A | US20160157928A1 | WO2015008286A1
简单同族成员数量:
8
简单同族被引用专利总数:
1
诉讼案件数:
0
法律状态/事件:
撤回