首页
专利数据库
产业人才
行业动态
产业政策法规
维权援助
个人中心
登录/注册
详情
文本
图像
标题:
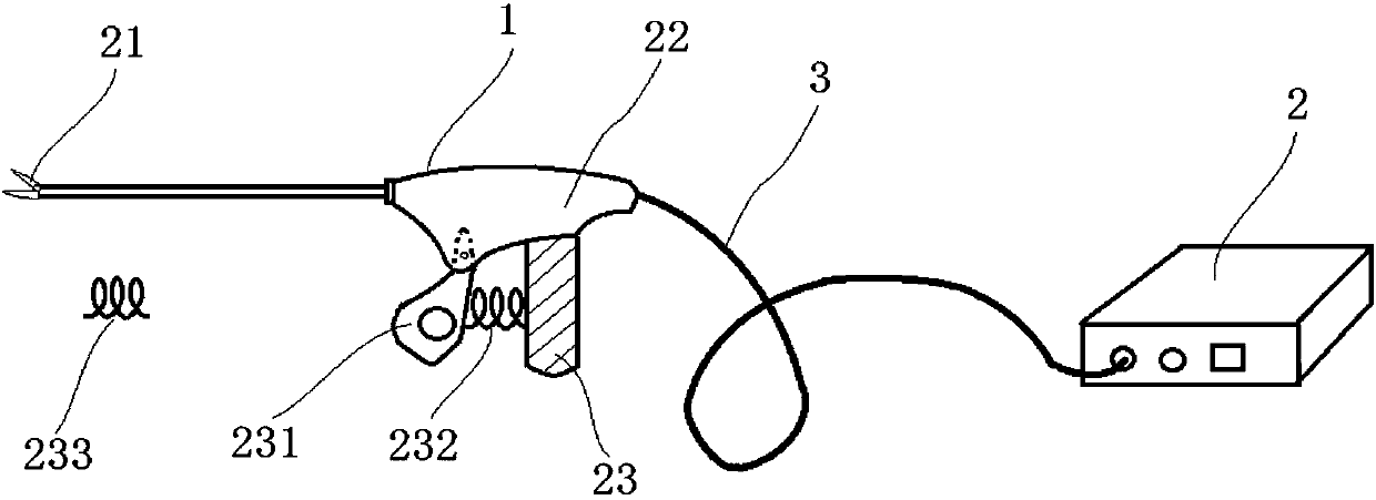
改进的超声外科手术系统
授权日:
2017-07-28
公开(公告)号:
CN106361405B
申请日:
2016-10-09
公开(公告)日:
2017-07-28
当前申请(专利权)人:
上海岐华医疗科技有限公司
发明人:
王卿 | 任任
简单同族:
CN106361405A | CN106361405B
简单同族成员数量:
2
简单同族被引用专利总数:
0
诉讼案件数:
0
法律状态/事件:
授权