首页
专利数据库
产业人才
行业动态
产业政策法规
维权援助
个人中心
登录/注册
详情
文本
图像
标题:
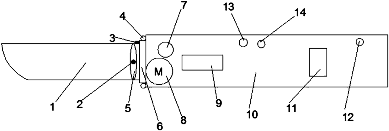
心内科介入手术刀
授权日:
2016-08-10
公开(公告)号:
CN205433839U
申请日:
2016-03-31
公开(公告)日:
2016-08-10
当前申请(专利权)人:
李勇
发明人:
李勇
简单同族:
CN205433839U
简单同族成员数量:
1
简单同族被引用专利总数:
3
诉讼案件数:
0
法律状态/事件:
未缴年费