首页
专利数据库
产业人才
行业动态
产业政策法规
维权援助
个人中心
登录/注册
详情
文本
图像
标题:
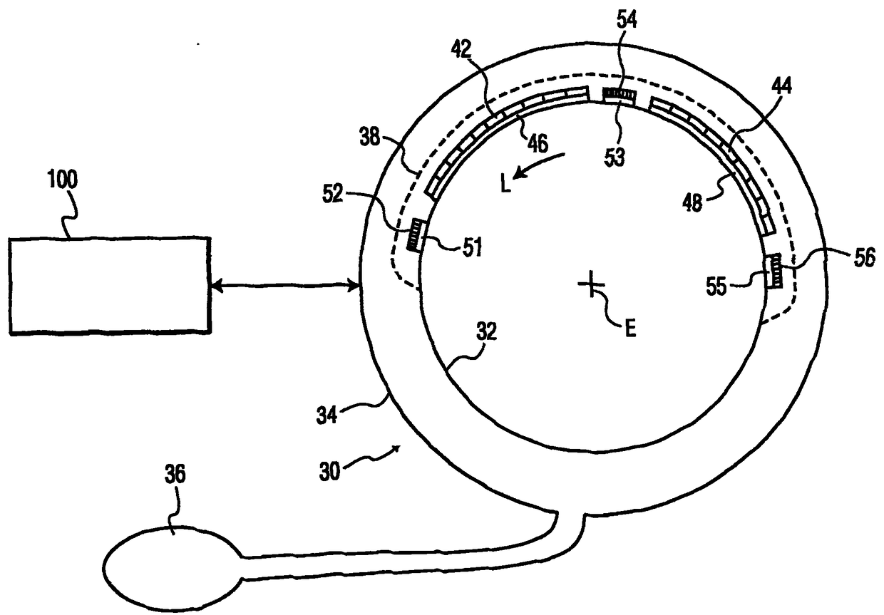
用于引导和施加高强度聚焦超声波以控制因截肢而出血的换能器袖带
授权日:
2011-06-08
公开(公告)号:
CN101325913B
申请日:
2006-12-07
公开(公告)日:
2011-06-08
当前申请(专利权)人:
皇家飞利浦电子股份有限公司
发明人:
J・弗雷泽 | H・劳思 | S・阿亚提 | J・彼得鲁齐洛
简单同族:
AT520353T | CN101325913A | CN101325913B | EP1962692A1 | EP1962692B1 | JP2009519080A | JP4938024B2 | US20080281202A1 | WO2007069156A1
简单同族成员数量:
9
简单同族被引用专利总数:
17
诉讼案件数:
0
法律状态/事件:
未缴年费