首页
专利数据库
产业人才
行业动态
产业政策法规
维权援助
个人中心
登录/注册
详情
文本
图像
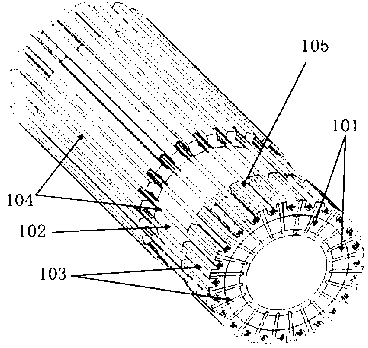
标题:
一种用于经内镜的环状三维超声探头及其制备方法
授权日:
1900-01-01
公开(公告)号:
CN102743192A
申请日:
2012-07-04
公开(公告)日:
2012-10-24
当前申请(专利权)人:
华中科技大学
发明人:
朱本鹏 | 郭万克 | 郭瑞超
简单同族:
CN102743192A | CN102743192B
简单同族成员数量:
2
简单同族被引用专利总数:
4
诉讼案件数:
0
法律状态/事件:
未缴年费