首页
专利数据库
产业人才
行业动态
产业政策法规
维权援助
个人中心
登录/注册
详情
文本
图像
标题:
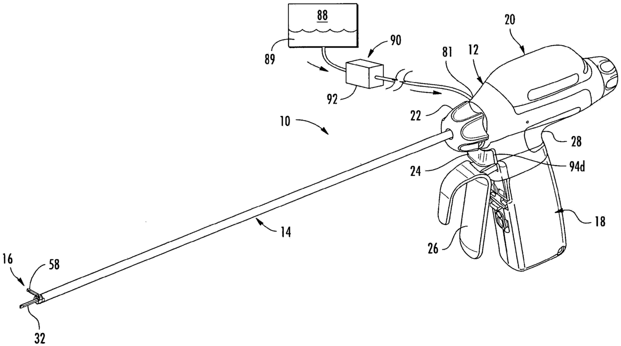
具有冷却系统的超声手术器械
授权日:
1900-01-01
公开(公告)号:
CN105902298A
申请日:
2015-10-28
公开(公告)日:
2016-08-31
当前申请(专利权)人:
柯惠有限合伙公司
发明人:
R·B·斯托达特 | E·R·拉森
简单同族:
AU2015249032A1 | AU2015249032B2 | CN105902298A | CN105902298B | EP3061415A1 | EP3061415B1 | EP3061415B8 | JP2016154836A | JP2017148601A | JP2017148601A5 | JP6238946B2 | JP6634047B2
简单同族成员数量:
12
简单同族被引用专利总数:
1
诉讼案件数:
0
法律状态/事件:
授权