首页
专利数据库
产业人才
行业动态
产业政策法规
维权援助
个人中心
登录/注册
详情
文本
图像
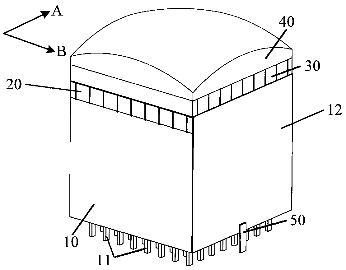
标题:
超声探头及其制备方法
授权日:
2020-02-18
公开(公告)号:
CN106805994B
申请日:
2015-11-27
公开(公告)日:
2020-02-18
当前申请(专利权)人:
中科绿谷(深圳)医疗科技有限公司
发明人:
郑海荣 | 李永川 | 刘西宁 | 钱明 | 苏敏 | 邱维宝
简单同族:
CN106805994A | CN106805994B
简单同族成员数量:
2
简单同族被引用专利总数:
2
诉讼案件数:
0
法律状态/事件:
授权 | 权利转移