首页
专利数据库
产业人才
行业动态
产业政策法规
维权援助
个人中心
登录/注册
详情
文本
图像
标题:
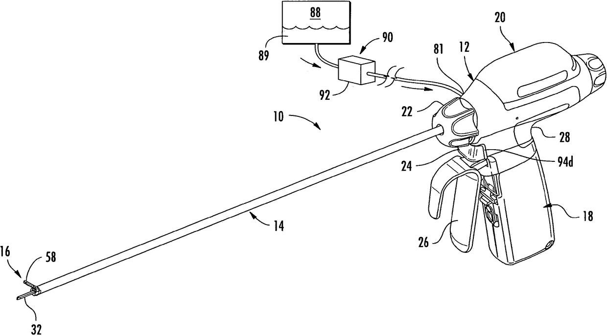
超声外科器械和外科系统
授权日:
2015-05-06
公开(公告)号:
CN204306871U
申请日:
2014-09-11
公开(公告)日:
2015-05-06
当前申请(专利权)人:
柯惠有限合伙公司
发明人:
R·B·斯托达特 | E·R·拉森
简单同族:
CN204306871U
简单同族成员数量:
1
简单同族被引用专利总数:
2
诉讼案件数:
0
法律状态/事件:
授权