首页
专利数据库
产业人才
行业动态
产业政策法规
维权援助
个人中心
登录/注册
详情
文本
图像
标题:
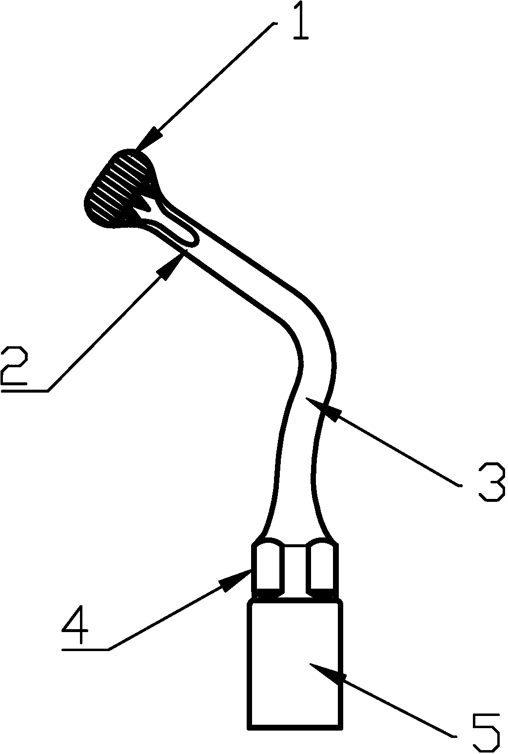
一种超声骨刀机工作尖
授权日:
2014-01-01
公开(公告)号:
CN203369938U
申请日:
2013-07-03
公开(公告)日:
2014-01-01
当前申请(专利权)人:
桂林市啄木鸟医疗器械有限公司
发明人:
朱添幸 | 吴勋贤
简单同族:
CN203369938U
简单同族成员数量:
1
简单同族被引用专利总数:
5
诉讼案件数:
0
法律状态/事件:
授权