首页
专利数据库
产业人才
行业动态
产业政策法规
维权援助
个人中心
登录/注册
详情
文本
图像
标题:
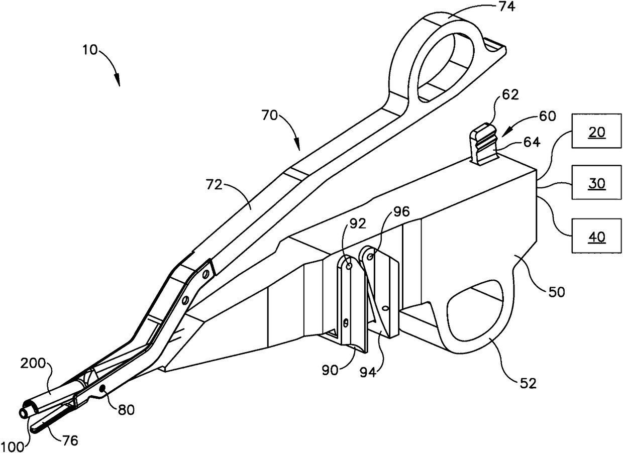
提供超声组织乳化和超声剪切的外科器械
授权日:
1900-01-01
公开(公告)号:
CN108289694A
申请日:
2016-10-17
公开(公告)日:
2018-07-17
当前申请(专利权)人:
伊西康有限责任公司
发明人:
C·P·布德罗克斯 | J·D·梅瑟利 | I·V·尼克拉耶苏 | F·B·斯图伦 | C·J·谢伊布 | M·E·穆托 | M·C·米勒
简单同族:
BR112018007903A2 | CN108289694A | EP3364894A1 | JP2018533403A | US10507035 | US20170105752A1 | WO2017070038A1
简单同族成员数量:
7
简单同族被引用专利总数:
4
诉讼案件数:
0
法律状态/事件:
实质审查