首页
专利数据库
产业人才
行业动态
产业政策法规
维权援助
个人中心
登录/注册
详情
文本
图像
标题:
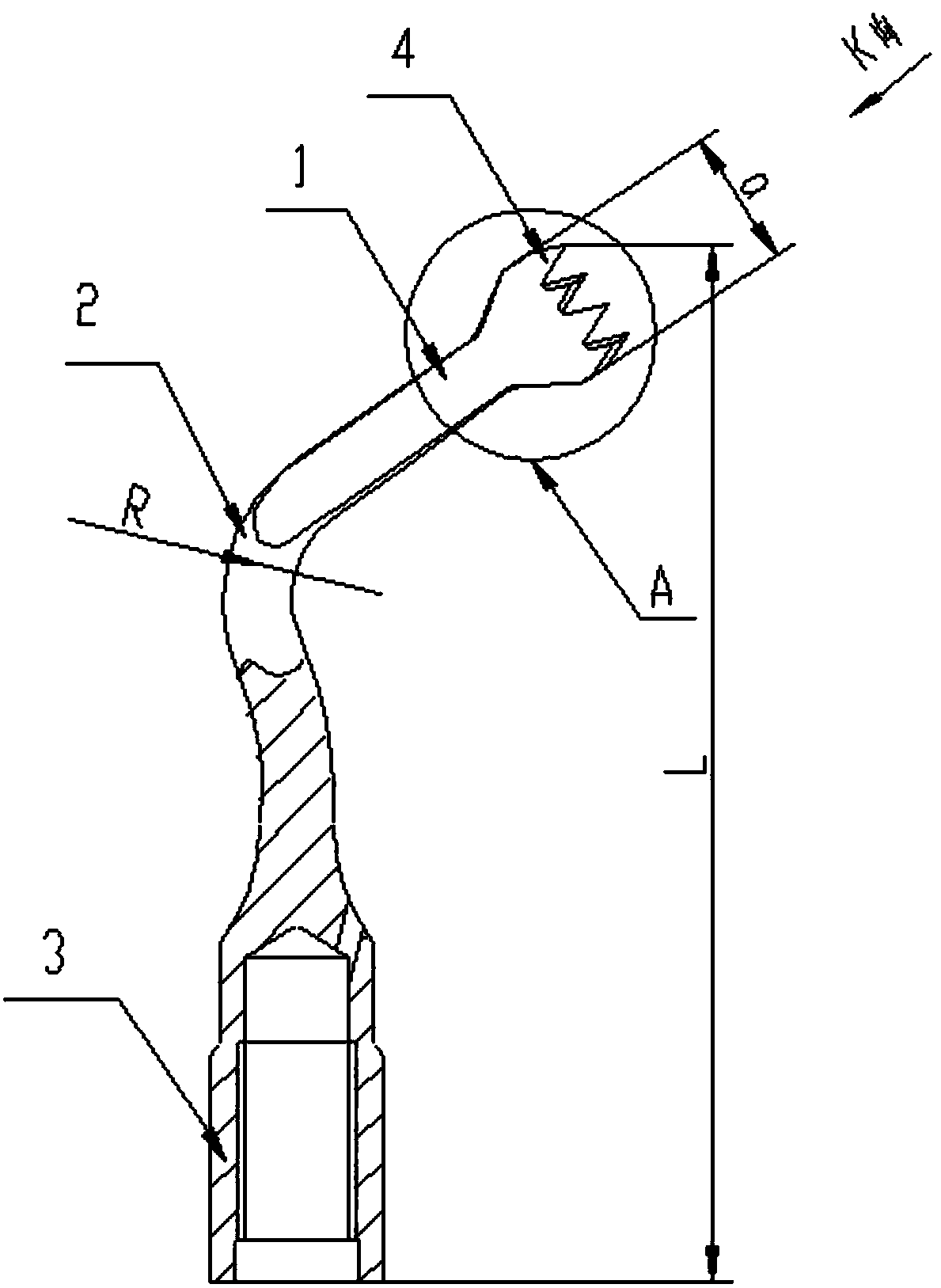
一种用于对上颌骨和下颌骨骨切的超声骨刀机工作尖
授权日:
2018-11-13
公开(公告)号:
CN208081267U
申请日:
2017-05-19
公开(公告)日:
2018-11-13
当前申请(专利权)人:
桂林市啄木鸟医疗器械有限公司
发明人:
宁加康 | 朱添幸 | 梁丽华 | 邓迎静
简单同族:
CN208081267U
简单同族成员数量:
1
简单同族被引用专利总数:
0
诉讼案件数:
0
法律状态/事件:
授权