首页
专利数据库
产业人才
行业动态
产业政策法规
维权援助
个人中心
登录/注册
详情
文本
图像
标题:
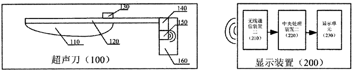
一种可视化超声刀
授权日:
2016-06-15
公开(公告)号:
CN205307051U
申请日:
2015-05-04
公开(公告)日:
2016-06-15
当前申请(专利权)人:
邢海昌
发明人:
邢海昌 | 王娟
简单同族:
CN205307051U
简单同族成员数量:
1
简单同族被引用专利总数:
2
诉讼案件数:
0
法律状态/事件:
未缴年费