标题:
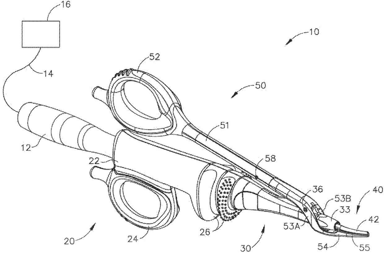
具有一体式刀片清洁特征结构的超声外科器械
授权日:
1900-01-01
公开(公告)号:
CN105934208A
申请日:
2014-11-11
公开(公告)日:
2016-09-07
当前申请(专利权)人:
伊西康内外科有限责任公司
发明人:
W·D·凯利 | C·N·法勒 | J·M·斯特格曼 | P·A·韦茨曼 | C·G·金博尔 | T·S·V·威登豪斯 | T·C·穆伦坎普 | B·D·伯特科 | K·R·特里奥
简单同族:
CN105934208A | CN105934208B | EP3068332A1 | EP3068332B1 | EP3068332B8 | EP3524191A1 | JP2016537098A | JP6509849B2 | MX2016006323A | US20150142031A1 | US9901358 | WO2015073428A1
简单同族成员数量:
12
简单同族被引用专利总数:
15
诉讼案件数:
0
法律状态/事件:
授权