首页
专利数据库
产业人才
行业动态
产业政策法规
维权援助
个人中心
登录/注册
详情
文本
图像
标题:
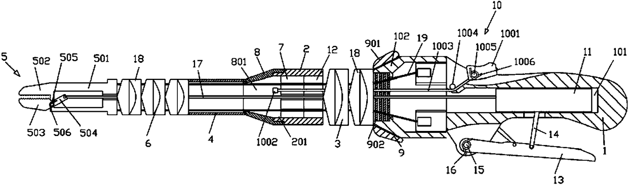
一种超声波手术刀
授权日:
2014-04-09
公开(公告)号:
CN102715935B
申请日:
2012-07-10
公开(公告)日:
2014-04-09
当前申请(专利权)人:
浙江舒友仪器设备有限公司
发明人:
汪洋 | 江文臣 | 余厉阳 | 彭晓光 | 黄海军
简单同族:
CN102715935A | CN102715935B
简单同族成员数量:
2
简单同族被引用专利总数:
6
诉讼案件数:
0
法律状态/事件:
授权