首页
专利数据库
产业人才
行业动态
产业政策法规
维权援助
个人中心
登录/注册
详情
文本
图像
标题:
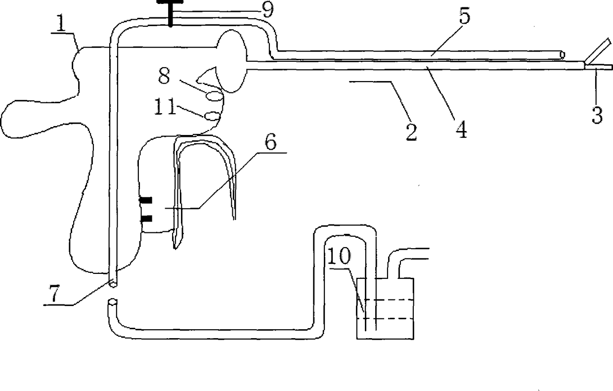
一种抗烟雾防镜污的新型腹腔镜超声刀
授权日:
2015-02-25
公开(公告)号:
CN204169904U
申请日:
2014-10-11
公开(公告)日:
2015-02-25
当前申请(专利权)人:
刘志华 | 李超
发明人:
刘志华 | 李超
简单同族:
CN204169904U
简单同族成员数量:
1
简单同族被引用专利总数:
4
诉讼案件数:
0
法律状态/事件:
未缴年费