首页
专利数据库
产业人才
行业动态
产业政策法规
维权援助
个人中心
登录/注册
详情
文本
图像
标题:
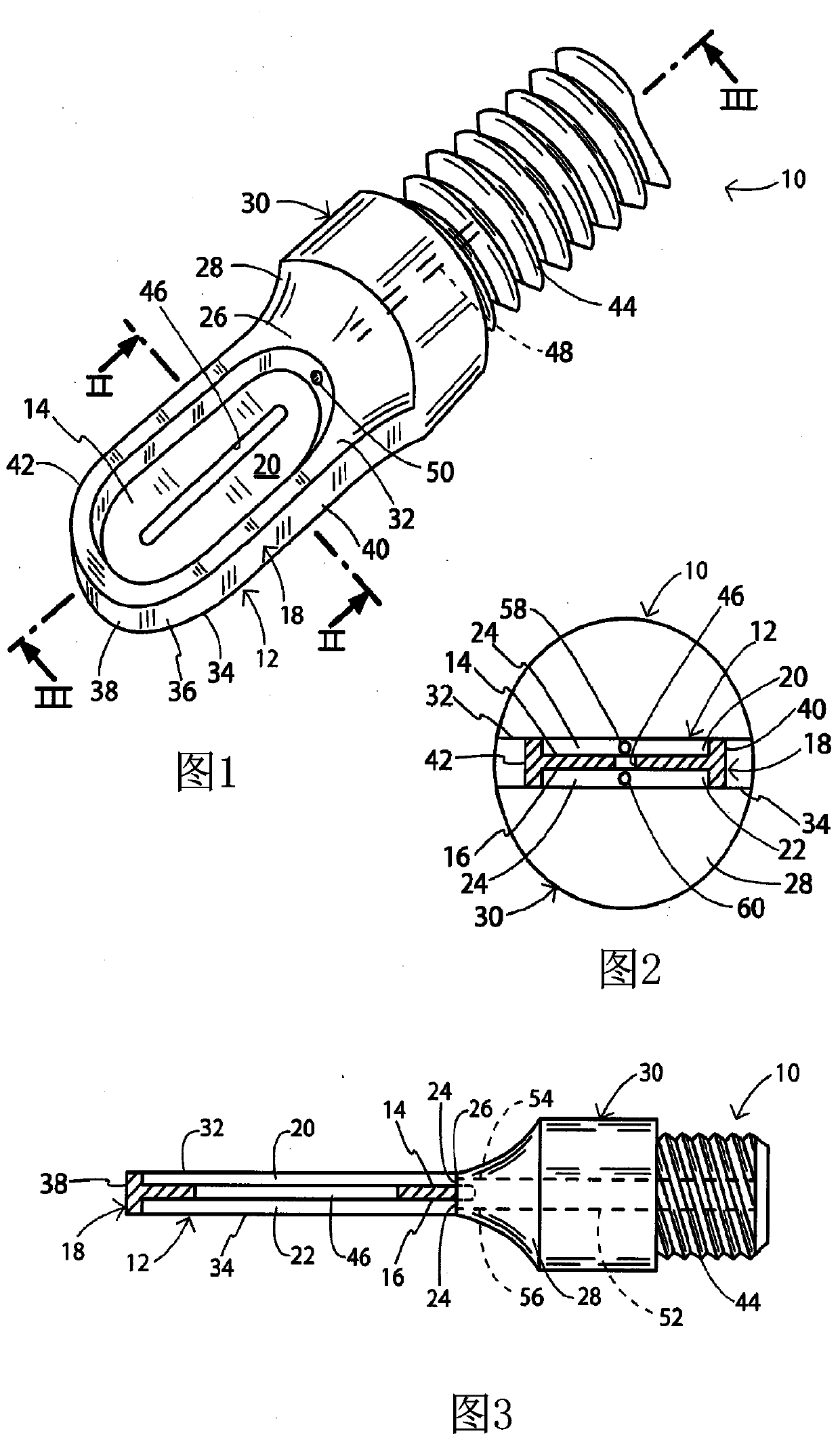
具有冷却液传导的超声波切割刀片
授权日:
2019-07-30
公开(公告)号:
CN105491968B
申请日:
2014-06-26
公开(公告)日:
2019-07-30
当前申请(专利权)人:
米松尼克斯股份有限公司
发明人:
D·沃伊克
简单同族:
CA2916914A1 | CN105491968A | CN105491968B | EP3013260A1 | EP3013260A4 | HK1223532A | JP2016526439A | JP6490065B2 | US20150005771A1 | US20160338725A1 | US9387005 | US9788852 | WO2014210273A1
简单同族成员数量:
13
简单同族被引用专利总数:
17
诉讼案件数:
0
法律状态/事件:
授权