首页
专利数据库
产业人才
行业动态
产业政策法规
维权援助
个人中心
登录/注册
详情
文本
图像
标题:
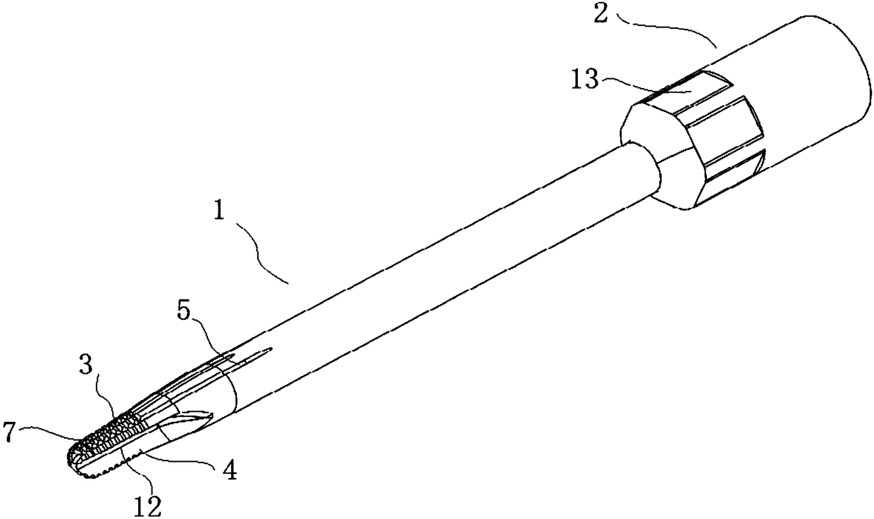
一种超声骨刀刀头
授权日:
1900-01-01
公开(公告)号:
CN107320151A
申请日:
2016-04-28
公开(公告)日:
2017-11-07
当前申请(专利权)人:
北京水木天蓬医疗技术有限公司
发明人:
冯振 | 曹群
简单同族:
AU2017255549A1 | AU2017255549B2 | BR112018071877A2 | CN107320151A | EP3449846A1 | EP3449846A4 | JP2019514560A | KR1020180134410A | MX2018012971A | TR201815810T1 | US20190059912A1 | WO2017186027A1
简单同族成员数量:
12
简单同族被引用专利总数:
6
诉讼案件数:
0
法律状态/事件:
实质审查