首页
专利数据库
产业人才
行业动态
产业政策法规
维权援助
个人中心
登录/注册
详情
文本
图像
标题:
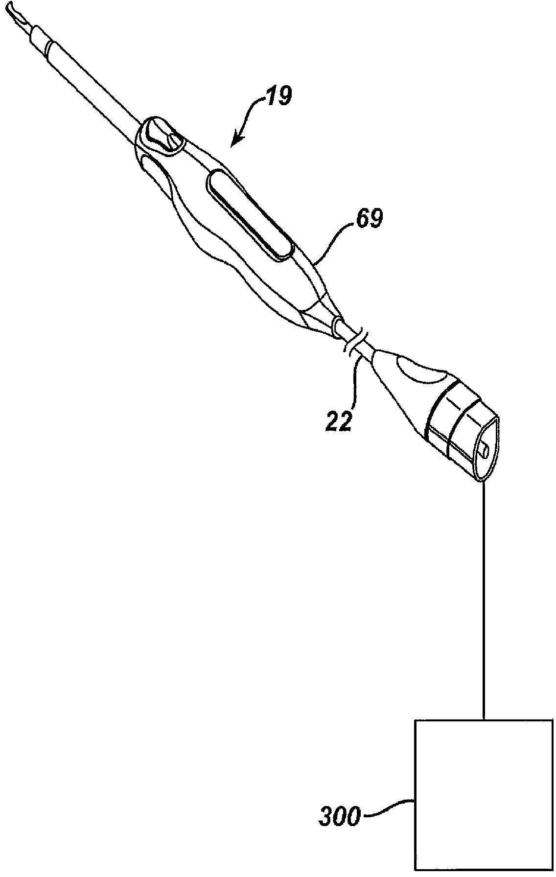
用于切割和凝固的超声装置
授权日:
1900-01-01
公开(公告)号:
CN103596510A
申请日:
2012-04-27
公开(公告)日:
2014-02-19
当前申请(专利权)人:
伊西康内外科公司
发明人:
S·J·巴利克 | W·D·丹纳尔 | C·J·小德拉吉诺夫 | C·G·金博尔 | D·L·科恩 | K·M·鲁普 | E·B·史密斯 | R·C·史密斯 | K·R·特里奥 | G·C·罗伯特森
简单同族:
CN103596510A | EP2701618A1 | JP2014518669A | JP6141258B2 | US20130116717A1 | US20150327882A1 | WO2012149361A1
简单同族成员数量:
7
简单同族被引用专利总数:
59
诉讼案件数:
0
法律状态/事件:
驳回