首页
专利数据库
产业人才
行业动态
产业政策法规
维权援助
个人中心
登录/注册
详情
文本
图像
标题:
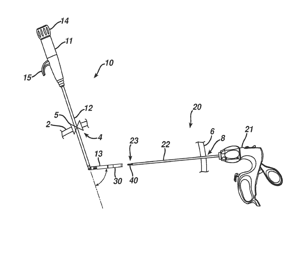
Loader for exchanging end effectors in vivo
授权日:
2018-12-04
公开(公告)号:
US10143454
申请日:
2016-03-25
公开(公告)日:
2018-12-04
当前申请(专利权)人:
ETHICON LLC
发明人:
CONLON, SEAN P. | SPIVEY, JAMES T. | HUEY, KEVIN M. | NOBIS, RUDOLPH H.
简单同族:
US10143454 | US20110087266A1 | US20160206299A1 | US9295485
简单同族成员数量:
4
简单同族被引用专利总数:
50
诉讼案件数:
0
法律状态/事件:
授权 | 权利转移