首页
专利数据库
产业人才
行业动态
产业政策法规
维权援助
个人中心
登录/注册
详情
文本
图像
标题:
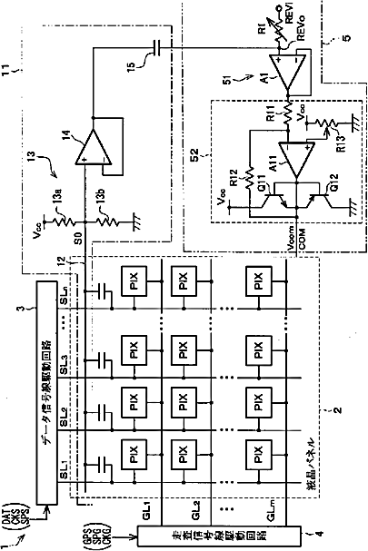
アクティブマトリクス型の液晶表示装置およびデータ信号線駆動回路、並びに、液晶表示装置の駆動方法
授权日:
1900-01-01
公开(公告)号:
JP2001147420A
申请日:
2000-08-11
公开(公告)日:
2001-05-29
当前申请(专利权)人:
シャープ株式会社
发明人:
川口 登史 | 柳 俊洋
简单同族:
JP2001147420A | JP3583356B2 | KR100379605B1 | KR1020010030279A | TW493150B | US6677925
简单同族成员数量:
6
简单同族被引用专利总数:
102
诉讼案件数:
0
法律状态/事件:
未缴年费