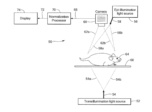
标题:
System and method for normalized diffuse emission epi-illumination imaging and normalized diffuse emission transillumination imaging
授权日:
2016-01-05
公开(公告)号:
US9226645
申请日:
2010-12-20
公开(公告)日:
2016-01-05
当前申请(专利权)人:
THE GENERAL HOSPITAL CORPORATION
发明人:
NTZIACHRISTOS, VASILIS
简单同族:
EP1824379A1 | EP1824379B1 | JP2008522761A | US20080312540A1 | US20110087111A1 | US9226645 | WO2006063246A1
简单同族成员数量:
7
简单同族被引用专利总数:
85
诉讼案件数:
0
法律状态/事件:
授权 | 权利转移