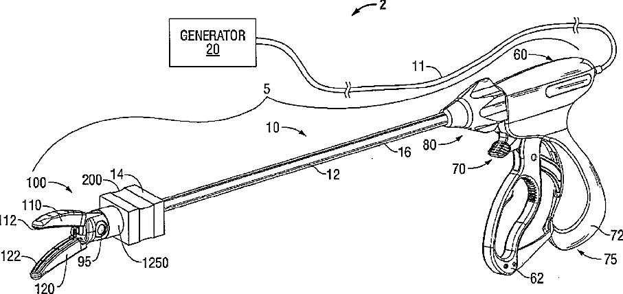
标题:
In Vivo Attachable and Detachable End Effector Assembly and Laparoscopic Surgical Instrument and Methods Therefor
授权日:
1900-01-01
公开(公告)号:
US20110071522A1
申请日:
2009-09-18
公开(公告)日:
2011-03-24
当前申请(专利权)人:
COVIDIEN LP
发明人:
DUMBAULD, PATRICK L. | COSGRIFF, EDWARD
简单同族:
US20110071522A1 | US20120172925A1 | US20150245847A1 | US8133254 | US9028493 | US9931131
简单同族成员数量:
6
简单同族被引用专利总数:
161
诉讼案件数:
0
法律状态/事件:
授权 | 权利转移