首页
专利数据库
产业人才
行业动态
产业政策法规
维权援助
个人中心
登录/注册
详情
文本
图像
标题:
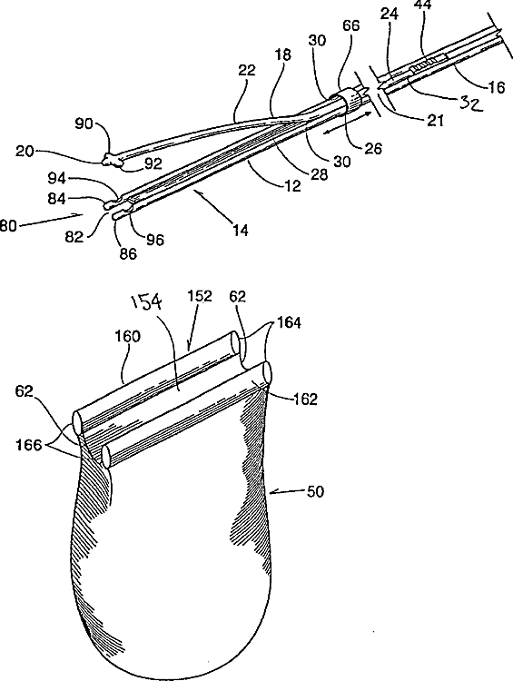
Reusable laparoscopic retrieval pouchtitle
授权日:
1900-01-01
公开(公告)号:
US20010002437A1
申请日:
2000-11-29
公开(公告)日:
2001-05-31
当前申请(专利权)人:
ANCEL SURGICAL R & D, INC.
发明人:
PAGEDAS, ANTHONY C.
简单同族:
CA2363509A1 | GB0127463D0 | GB2371991A | US20010002437A1 | US6387102
简单同族成员数量:
5
简单同族被引用专利总数:
83
诉讼案件数:
0
法律状态/事件:
未缴年费 | 权利转移