首页
专利数据库
产业人才
行业动态
产业政策法规
维权援助
个人中心
登录/注册
详情
文本
图像
标题:
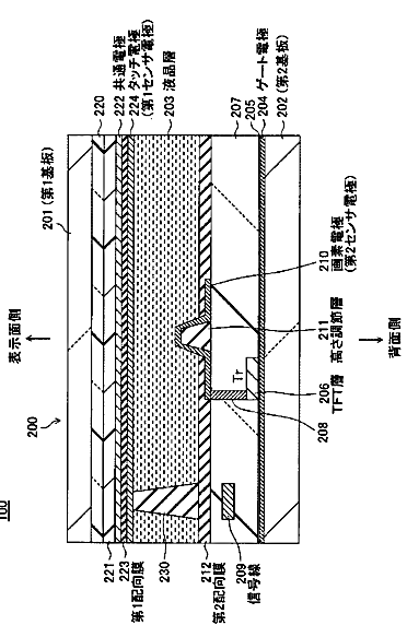
液晶表示装置およびその製造方法
授权日:
1900-01-01
公开(公告)号:
JP2010039380A
申请日:
2008-08-07
公开(公告)日:
2010-02-18
当前申请(专利权)人:
株式会社ジャパンディスプレイ
发明人:
小糸 健夫 | 野口 幸治
简单同族:
CN101644841A | CN101644841B | JP2010039380A | JP2010039380A5 | JP5571298B2 | KR101609879B1 | KR1020100019367A | TW201013256A | TWI416214B | US20100033448A1 | US8786571
简单同族成员数量:
11
简单同族被引用专利总数:
74
诉讼案件数:
0
法律状态/事件:
未缴年费 | 权利转移