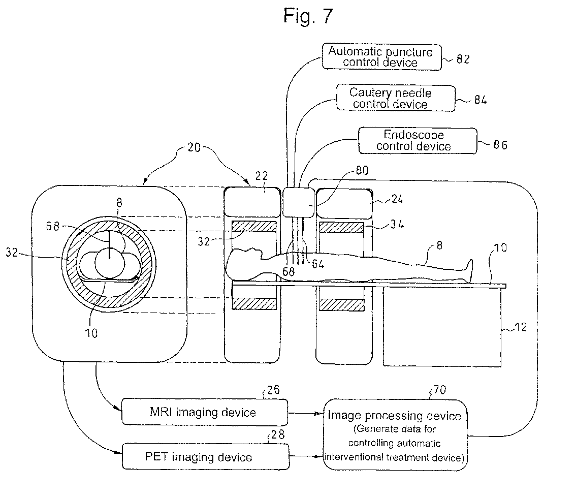
标题:
Open pet-MRI complex machine
授权日:
1900-01-01
公开(公告)号:
EP2407101A1
申请日:
2009-03-12
公开(公告)日:
2012-01-18
当前申请(专利权)人:
NATIONAL INSTITUTE OF RADIOLOGICAL SCIENCES
发明人:
YAMAYA, TAIGA | MURAYAMA, HIDEO | OBATA, TAKAYUKI | AOKI, ICHIO
简单同族:
EP2407101A1 | EP2407101A4 | EP2407101B1 | JP5224421B2 | JPWO2010103644A1 | US20120150017A1 | WO2010103644A1
简单同族成员数量:
7
简单同族被引用专利总数:
49
诉讼案件数:
0
法律状态/事件:
授权