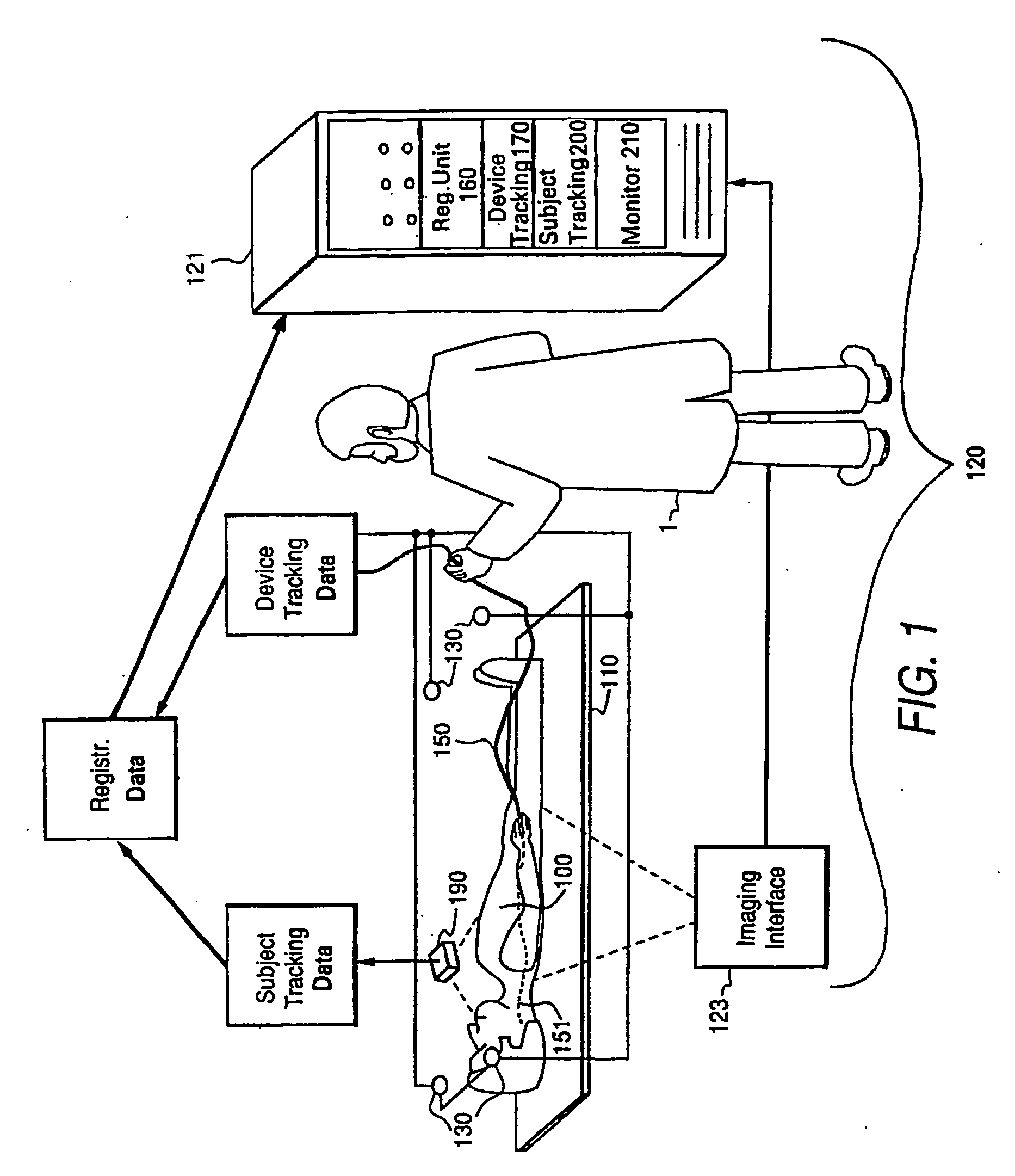
标题:
Medical device positioning system
授权日:
2007-11-07
公开(公告)号:
EP1545365B1
申请日:
2003-06-11
公开(公告)日:
2007-11-07
当前申请(专利权)人:
GENERAL ELECTRIC COMPANY
发明人:
DARROW, ROBERT, DAVID | DUMOULIN, CHARLES, LUCIAN
简单同族:
CN100391414C | CN1668254A | DE60317358D1 | DE60317358T2 | EP1545365A1 | EP1545365B1 | JP2005535382A | JP2005535382A5 | JP4455995B2 | US20040034297A1 | WO2004014246A1
简单同族成员数量:
11
简单同族被引用专利总数:
152
诉讼案件数:
0
法律状态/事件:
权利终止