标题:
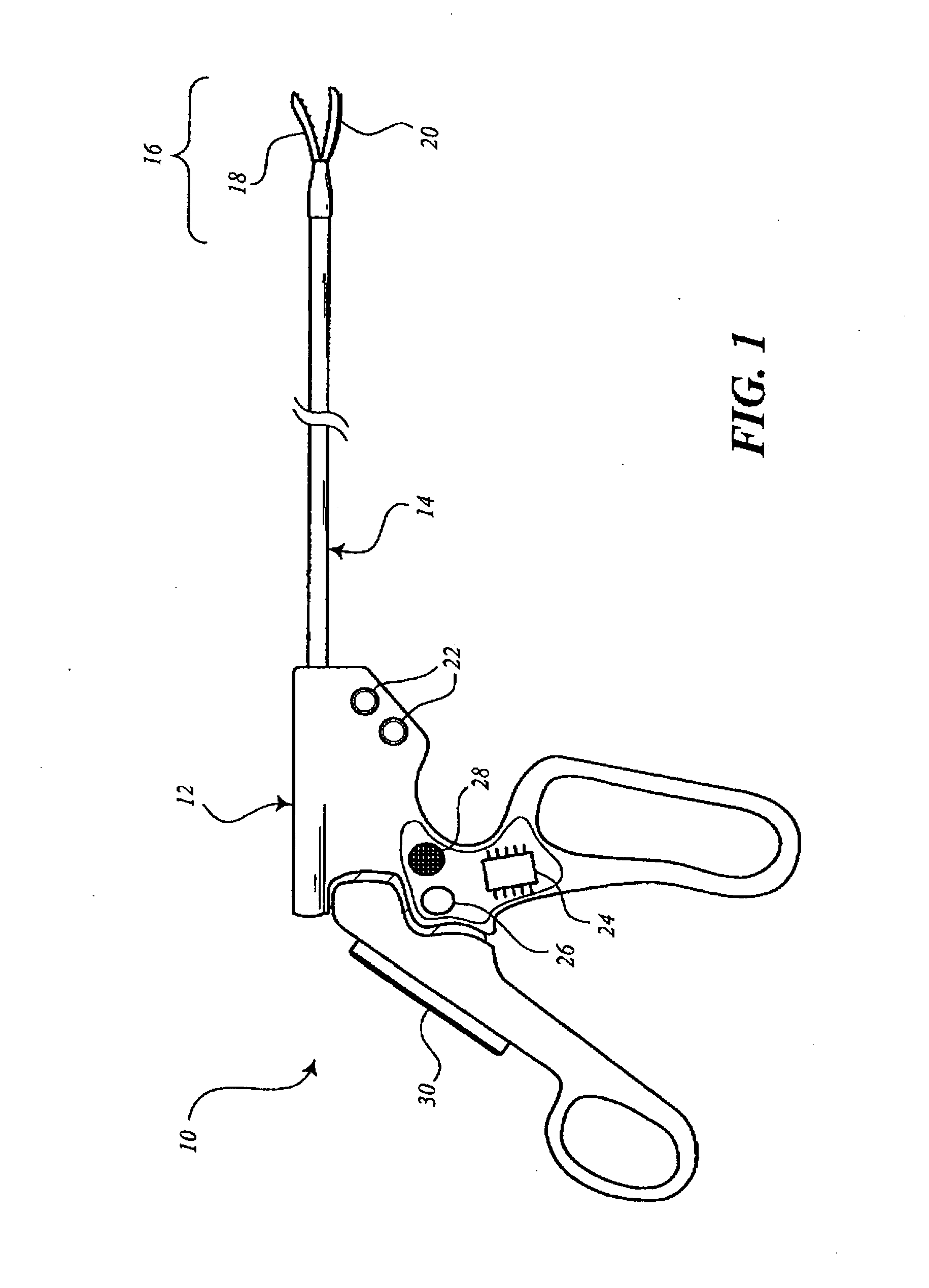
Tool having multiple feedback devices
授权日:
2015-04-22
公开(公告)号:
EP2296555B1
申请日:
2009-11-19
公开(公告)日:
2015-04-22
当前申请(专利权)人:
IMMERSION CORPORATION
发明人:
RAMSTEIN, CHRISTOPHE | ULLRICH, CHRISTOPHER, J. | GRANT, DANNY, A.
简单同族:
EP2296555A1 | EP2296555B1 | EP2351528A1 | EP2351528B1 | US20100137845A1 | US20130253483A1 | US8888763 | WO2010065314A1
简单同族成员数量:
8
简单同族被引用专利总数:
59
诉讼案件数:
0
法律状态/事件:
授权 | 权利转移