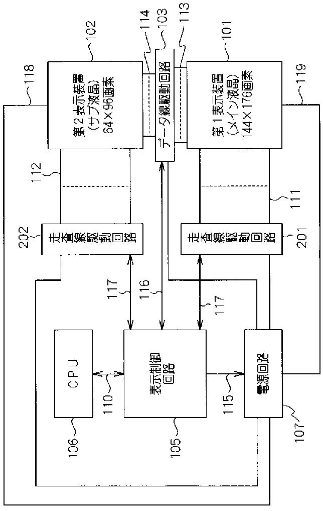
标题:
携帯型電子機器の表示装置
授权日:
2011-08-05
公开(公告)号:
JP4794801B2
申请日:
2002-10-03
公开(公告)日:
2011-10-19
当前申请(专利权)人:
ルネサスエレクトロニクス株式会社
发明人:
中井 大三郎 | 橋本 義春
简单同族:
CN1282144C | CN1497510A | EP1406240A2 | EP1406240A3 | JP2004126257A | JP4794801B2 | KR100643432B1 | KR1020040031617A | TW200419492A | TWI248046B | US20040169618A1 | US20070210982A1 | US20070291041A1 | US7330163 | US7843400 | US8022892
简单同族成员数量:
16
简单同族被引用专利总数:
150
诉讼案件数:
0
法律状态/事件:
未缴年费 | 权利转移