首页
专利数据库
产业人才
行业动态
产业政策法规
维权援助
个人中心
登录/注册
详情
文本
图像
标题:
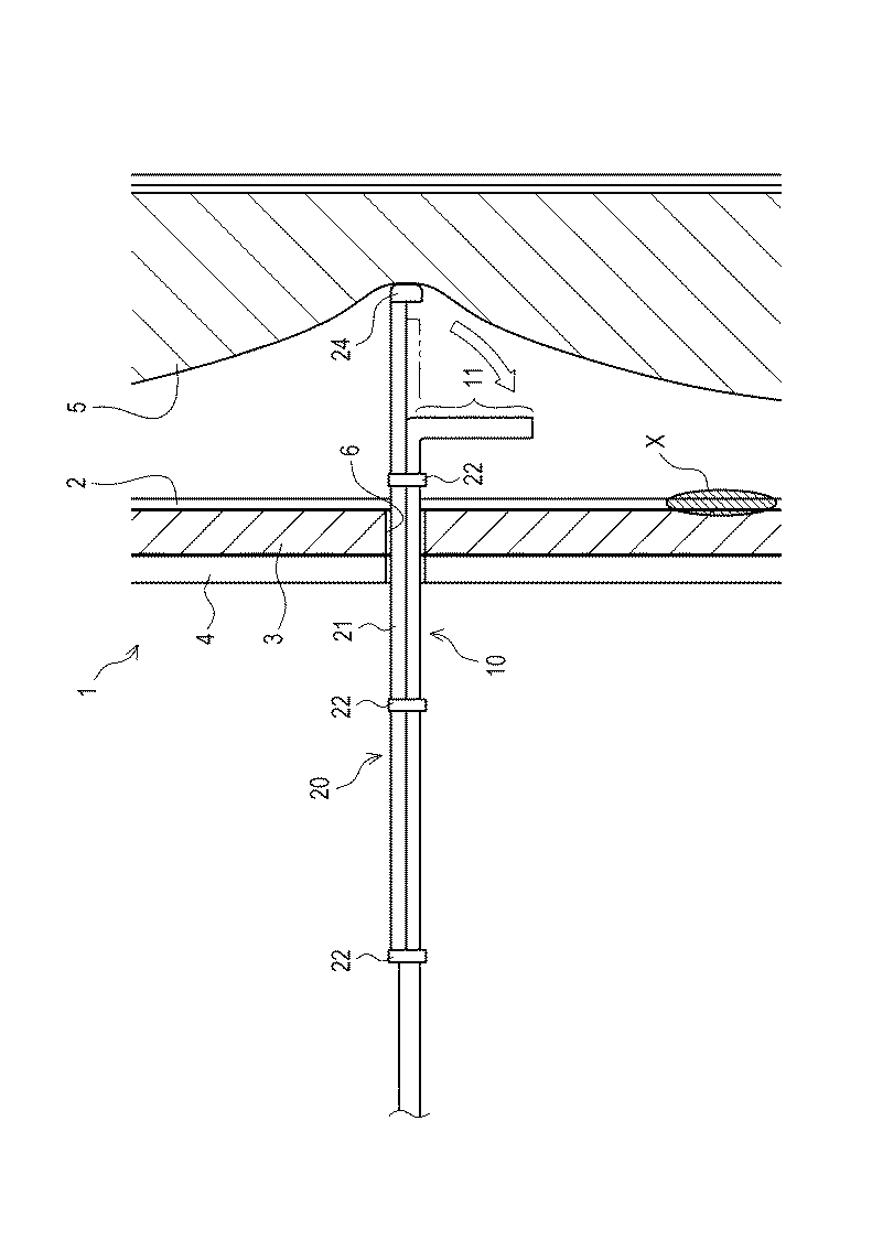
点検補助部材及び構造物内部の点検方法
授权日:
1900-01-01
公开(公告)号:
JP2018054670A
申请日:
2016-09-26
公开(公告)日:
2018-04-05
当前申请(专利权)人:
大和ハウス工業株式会社
发明人:
中川 雅至 | 山田 拓久 | 石丸 謙吾 | 朴 宰弘 | 林 怡伶 | 湯淺 嵩之 | 武宮 正剛
简单同族:
JP2018054670A
简单同族成员数量:
1
简单同族被引用专利总数:
0
诉讼案件数:
0
法律状态/事件:
公开