首页
专利数据库
产业人才
行业动态
产业政策法规
维权援助
个人中心
登录/注册
详情
文本
图像
标题:
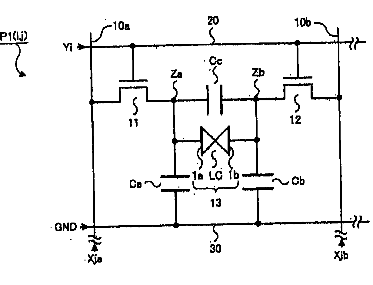
电光学元件的驱动方法、像素电路、电光学装置和电子仪器
授权日:
2011-09-07
公开(公告)号:
CN101122721B
申请日:
2007-08-07
公开(公告)日:
2011-09-07
当前申请(专利权)人:
株式会社日本显示器西
发明人:
小泽德郎
简单同族:
CN101122721A | CN101122721B | JP2008065308A | JP5089252B2 | KR101471195B1 | KR1020080013736A | TW200823855A | US20080079679A1 | US7855706
简单同族成员数量:
9
简单同族被引用专利总数:
60
诉讼案件数:
0
法律状态/事件:
授权 | 权利转移