首页
专利数据库
产业人才
行业动态
产业政策法规
维权援助
个人中心
登录/注册
详情
文本
图像
标题:
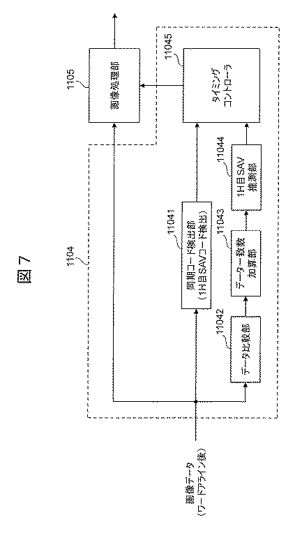
同期補償回路、内視鏡装置、内視鏡システム、および同期補償方法
授权日:
1900-01-01
公开(公告)号:
JP2020014065A
申请日:
2018-07-13
公开(公告)日:
2020-01-23
当前申请(专利权)人:
HOYA株式会社
发明人:
人形 洋一 | 坂本 洋
简单同族:
JP2020014065A
简单同族成员数量:
1
简单同族被引用专利总数:
0
诉讼案件数:
0
法律状态/事件:
公开