首页
专利数据库
产业人才
行业动态
产业政策法规
维权援助
个人中心
登录/注册
详情
文本
图像
标题:
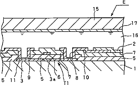
薄膜トランジスタ基板および液晶表示装置
授权日:
1900-01-01
公开(公告)号:
JP2000330134A
申请日:
2000-01-21
公开(公告)日:
2000-11-30
当前申请(专利权)人:
株式会社フロンテック
发明人:
蔡 基成 | ▲じょ▼ 奎哲 | 佐々木 真 | 新井 和之
简单同族:
JP2000330134A | KR100357218B1 | KR1020000076790A | US20030164498A1 | US6649936 | US6852998
简单同族成员数量:
6
简单同族被引用专利总数:
125
诉讼案件数:
0
法律状态/事件:
驳回 | 权利转移