首页
专利数据库
产业人才
行业动态
产业政策法规
维权援助
个人中心
登录/注册
详情
文本
图像
标题:
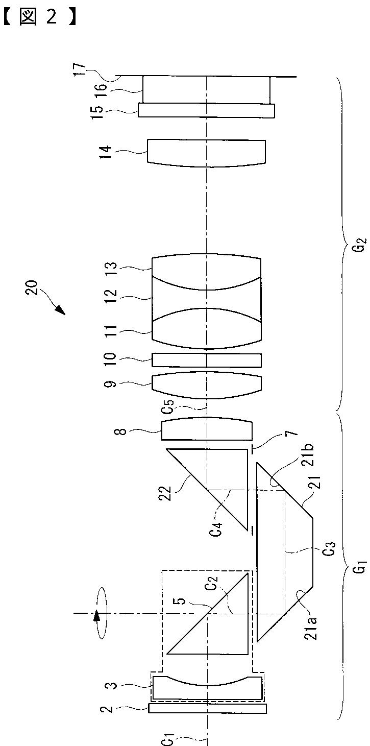
内視鏡用光学系
授权日:
2013-09-27
公开(公告)号:
JP5372261B2
申请日:
2011-11-16
公开(公告)日:
2013-12-18
当前申请(专利权)人:
オリンパスメディカルシステムズ株式会社
发明人:
片倉 正弘
简单同族:
CN103229087A | CN103229087B | EP2624039A1 | EP2624039A4 | JP5372261B2 | JPWO2012081349A1 | US20130044361A1 | US8684915 | WO2012081349A1
简单同族成员数量:
9
简单同族被引用专利总数:
48
诉讼案件数:
0
法律状态/事件:
授权 | 权利转移