首页
专利数据库
产业人才
行业动态
产业政策法规
维权援助
个人中心
登录/注册
详情
文本
图像
标题:
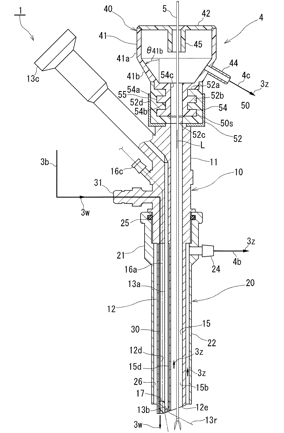
内視鏡装置
授权日:
1900-01-01
公开(公告)号:
JP2018126237A
申请日:
2017-02-07
公开(公告)日:
2018-08-16
当前申请(专利权)人:
株式会社JIMRO
发明人:
宮城 邦彦 | 三澤 雅幸 | 三潟 麻衣
简单同族:
JP2018126237A
简单同族成员数量:
1
简单同族被引用专利总数:
0
诉讼案件数:
0
法律状态/事件:
公开