首页
专利数据库
产业人才
行业动态
产业政策法规
维权援助
个人中心
登录/注册
详情
文本
图像
标题:
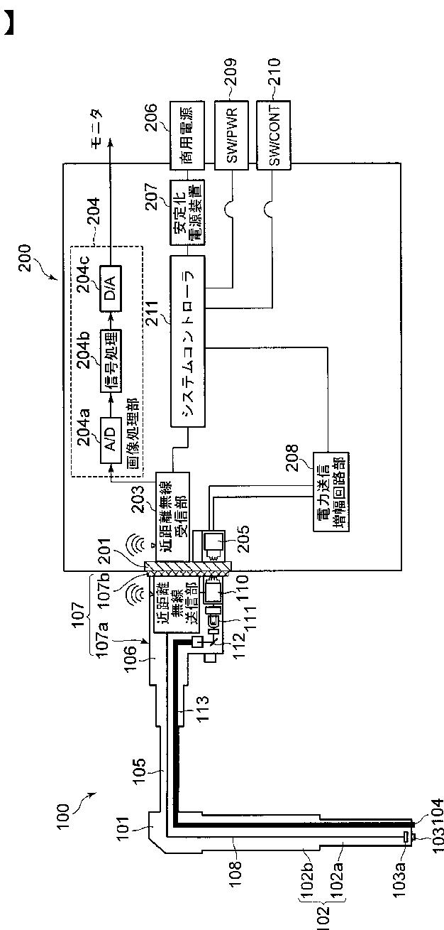
電子内視鏡システム
授权日:
2016-09-16
公开(公告)号:
JP6005383B2
申请日:
2012-03-30
公开(公告)日:
2016-10-12
当前申请(专利权)人:
HOYA株式会社
发明人:
渡邉 博人
简单同族:
JP2013208187A | JP6005383B2
简单同族成员数量:
2
简单同族被引用专利总数:
54
诉讼案件数:
0
法律状态/事件:
授权