标题:
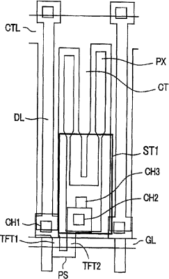
液晶显示装置
授权日:
1900-01-01
公开(公告)号:
CN1766702A
申请日:
2005-10-28
公开(公告)日:
2006-05-03
当前申请(专利权)人:
株式会社日本显示器 | 松下液晶显示器株式会社
发明人:
长谷川笃 | 宫泽敏夫
简单同族:
CN100439984C | CN101299108A | CN101320163A | CN101320163B | CN1766702A | JP2006126602A | JP4550551B2 | KR100778165B1 | KR100835037B1 | KR1020060049361A | KR1020070052251A | TW200632421A | TWI317439B | US20060092363A1 | US20090225261A1 | US20100245739A1 | US7538845 | US7768614
简单同族成员数量:
18
简单同族被引用专利总数:
112
诉讼案件数:
0
法律状态/事件:
授权 | 许可 | 权利转移