首页
专利数据库
产业人才
行业动态
产业政策法规
维权援助
个人中心
登录/注册
详情
文本
图像
标题:
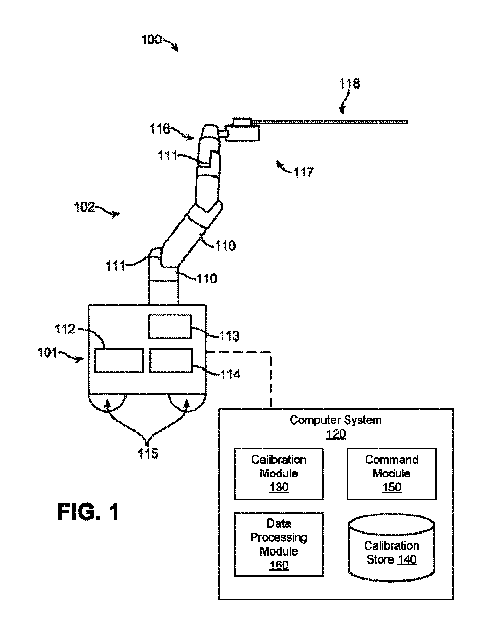
プルワイヤを用いた内視鏡の自動較正
授权日:
1900-01-01
公开(公告)号:
JP2019531807A
申请日:
2017-09-28
公开(公告)日:
2019-11-07
当前申请(专利权)人:
オーリス ヘルス インコーポレイテッド
发明人:
グレイツェル,シャウンシー エフ. | ウマラネーニ,リッティク
简单同族:
AU2017336790A1 | CN108882837A | EP3518724A1 | JP2019531807A | KR1020190054030A | US20180092517A1 | US20180214011A1 | US9931025 | WO2018064394A1
简单同族成员数量:
9
简单同族被引用专利总数:
86
诉讼案件数:
0
法律状态/事件:
公开