首页
专利数据库
产业人才
行业动态
产业政策法规
维权援助
个人中心
登录/注册
详情
文本
图像
标题:
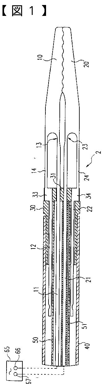
挿入が最少で済む外科用手術器具
授权日:
2009-05-29
公开(公告)号:
JP4316821B2
申请日:
2001-05-01
公开(公告)日:
2009-08-19
当前申请(专利权)人:
エルベ エレクトロメディジン ゲーエムベーハー
发明人:
フォルカー バーテル
简单同族:
EP1151723A2 | EP1151723A3 | EP1151723B1 | JP2002095671A | JP4316821B2 | US20010041893A1 | US6464703
简单同族成员数量:
7
简单同族被引用专利总数:
45
诉讼案件数:
0
法律状态/事件:
未缴年费