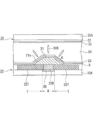
标题:
液晶表示装置および電子機器
授权日:
1900-01-01
公开(公告)号:
JP2003295165A
申请日:
2002-12-20
公开(公告)日:
2003-10-15
当前申请(专利权)人:
セイコーエプソン株式会社
发明人:
小澤 欣也 | 浦野 信孝 | 前田 強
简单同族:
CN1202437C | CN1435714A | CN2684227Y | JP2003295165A | JP4068951B2 | KR100525876B1 | KR1020030065353A | TW200307154A | TWI224699B | US20030160928A1 | US20050018120A1 | US20060203157A1 | US7088408 | US7271866 | US7671941
简单同族成员数量:
15
简单同族被引用专利总数:
111
诉讼案件数:
0
法律状态/事件:
授权 | 权利转移