首页
专利数据库
产业人才
行业动态
产业政策法规
维权援助
个人中心
登录/注册
详情
文本
图像
标题:
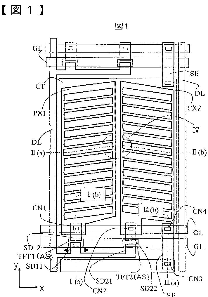
液晶表示装置
授权日:
2009-10-02
公开(公告)号:
JP4381782B2
申请日:
2003-11-18
公开(公告)日:
2009-12-09
当前申请(专利权)人:
株式会社 日立ディスプレイズ
发明人:
小野 記久雄 | 永山 育子 | 桶 隆太郎 | 鎗田 浩幸
简单同族:
CN100395642C | CN1619395A | JP2005148534A | JP4381782B2 | US20050105032A1 | US20070252936A1 | US20080273135A1 | US7256853 | US7411647 | US7567325
简单同族成员数量:
10
简单同族被引用专利总数:
143
诉讼案件数:
0
法律状态/事件:
授权 | 权利转移