首页
专利数据库
产业人才
行业动态
产业政策法规
维权援助
个人中心
登录/注册
详情
文本
图像
标题:
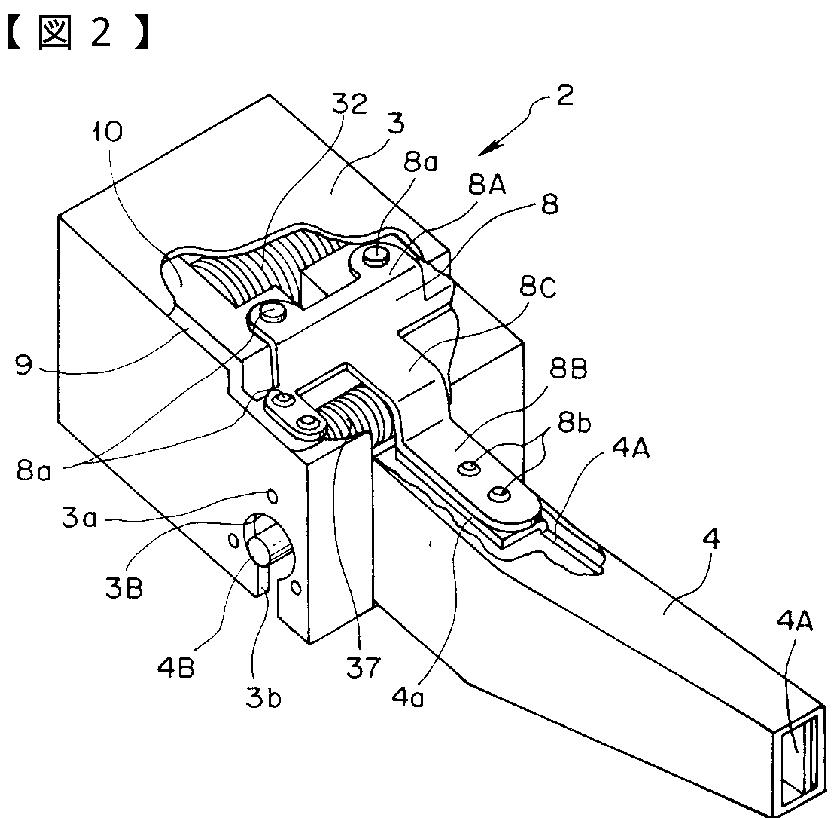
電動湾曲内視鏡
授权日:
2009-06-12
公开(公告)号:
JP4323149B2
申请日:
2002-09-30
公开(公告)日:
2009-09-02
当前申请(专利权)人:
オリンパス株式会社
发明人:
宮城 隆康 | 前田 俊成 | 上野 晴彦 | 荒井 敬一 | 池田 裕一
简单同族:
JP2004121413A | JP4323149B2 | US20040073083A1 | US7722532
简单同族成员数量:
4
简单同族被引用专利总数:
86
诉讼案件数:
0
法律状态/事件:
授权 | 权利转移