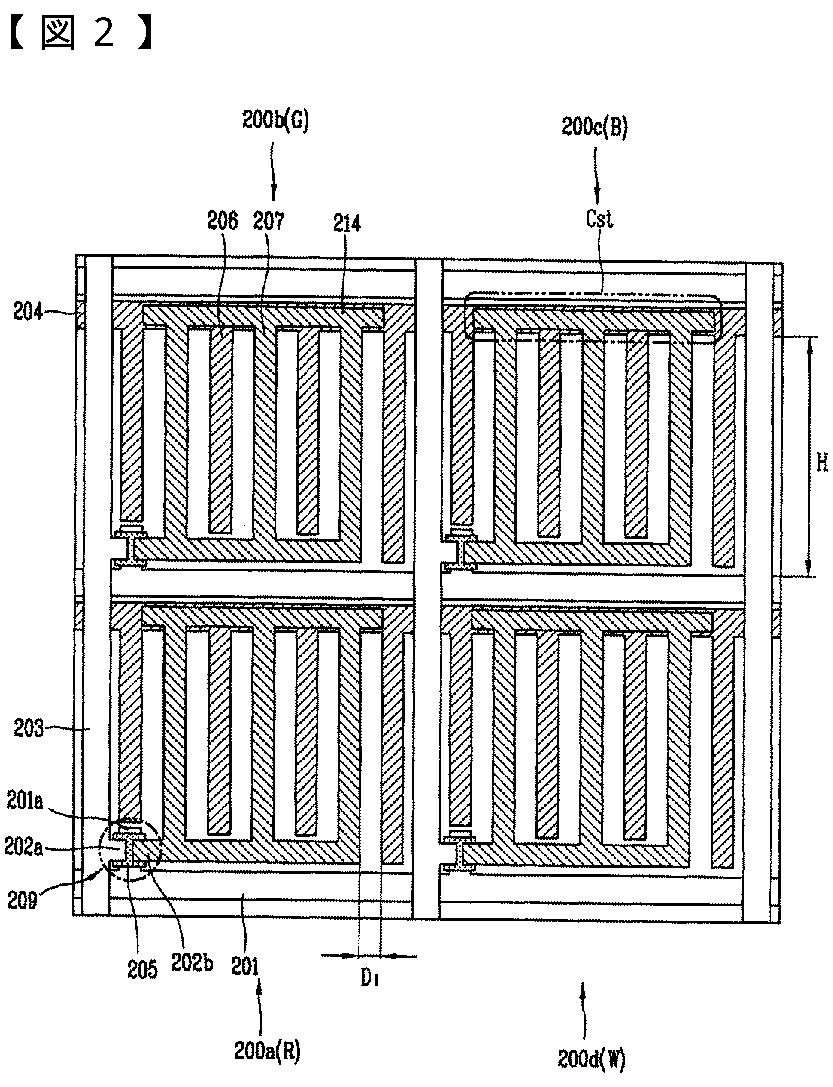
标题:
インプレーンスイッチング方式の液晶表示素子及びその製造方法
授权日:
2009-10-16
公开(公告)号:
JP4392325B2
申请日:
2004-10-29
公开(公告)日:
2009-12-24
当前申请(专利权)人:
エルジー ディスプレイ カンパニー リミテッド
发明人:
姜 元 錫
简单同族:
CN100340912C | CN1612023A | JP2005165285A | JP4392325B2 | KR101157223B1 | KR1020050040621A | US20050094078A1 | US7403253
简单同族成员数量:
8
简单同族被引用专利总数:
63
诉讼案件数:
0
法律状态/事件:
授权