首页
专利数据库
产业人才
行业动态
产业政策法规
维权援助
个人中心
登录/注册
详情
文本
图像
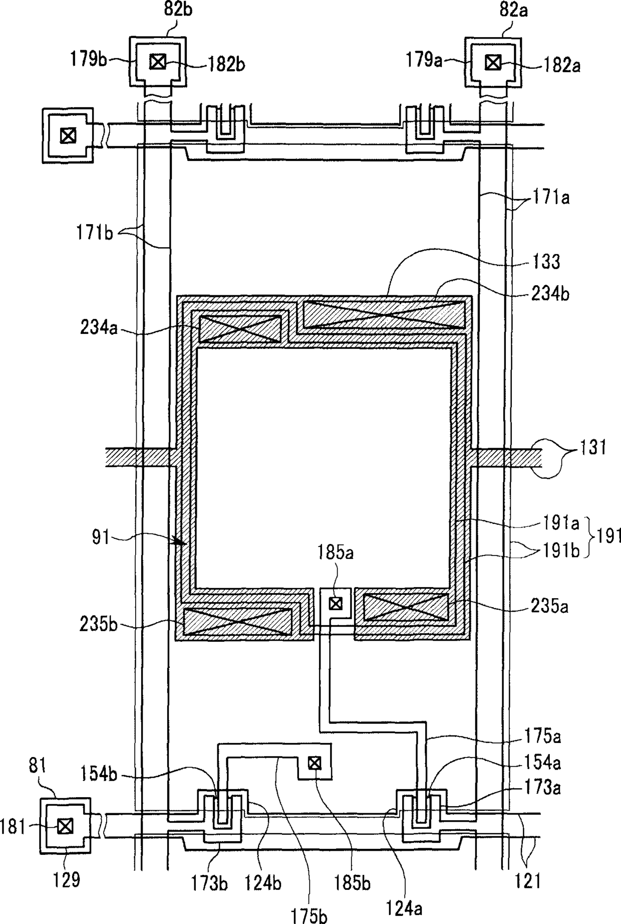
标题:
液晶显示器
授权日:
2015-03-04
公开(公告)号:
CN102566125B
申请日:
2008-07-22
公开(公告)日:
2015-03-04
当前申请(专利权)人:
三星显示有限公司
发明人:
郑美惠 | 蔡钟哲 | 李庸羽 | 金昤究
简单同族:
CN101498875A | CN101498875B | CN102566125A | CN102566125B | JP2009181121A | JP5732186B2 | KR101448001B1 | KR1020090083060A | US20090190058A1 | US20100220275A1 | US20120188477A1 | US8111341 | US8169582 | US8514270
简单同族成员数量:
14
简单同族被引用专利总数:
69
诉讼案件数:
0
法律状态/事件:
授权 | 权利转移