首页
专利数据库
产业人才
行业动态
产业政策法规
维权援助
个人中心
登录/注册
详情
文本
图像
标题:
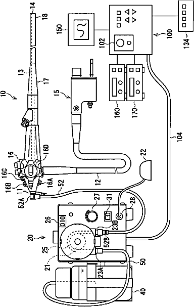
電子内視鏡装置および電子内視鏡システム
授权日:
1900-01-01
公开(公告)号:
JP2003070730A
申请日:
2001-09-03
公开(公告)日:
2003-03-11
当前申请(专利权)人:
ペンタックス株式会社
发明人:
古谷 勝彦 | 日比 春彦 | 飯田 充
简单同族:
JP2003070730A | JP3869692B2 | US20030043264A1 | US6881188
简单同族成员数量:
4
简单同族被引用专利总数:
84
诉讼案件数:
0
法律状态/事件:
授权 | 权利转移