首页
专利数据库
产业人才
行业动态
产业政策法规
维权援助
个人中心
登录/注册
详情
文本
图像
标题:
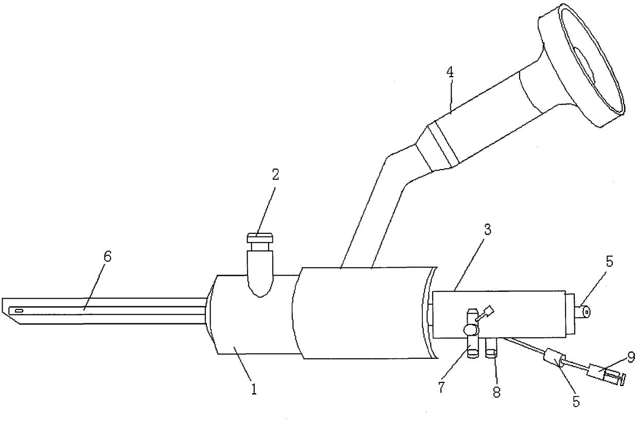
一种带内管的输尿管镜
授权日:
2012-08-15
公开(公告)号:
CN202376223U
申请日:
2011-12-01
公开(公告)日:
2012-08-15
当前申请(专利权)人:
中国人民解放军第一零五医院
发明人:
李海波 | 李超志 | 孟杰
简单同族:
CN202376223U
简单同族成员数量:
1
简单同族被引用专利总数:
0
诉讼案件数:
0
法律状态/事件:
未缴年费