首页
专利数据库
产业人才
行业动态
产业政策法规
维权援助
个人中心
登录/注册
详情
文本
图像
标题:
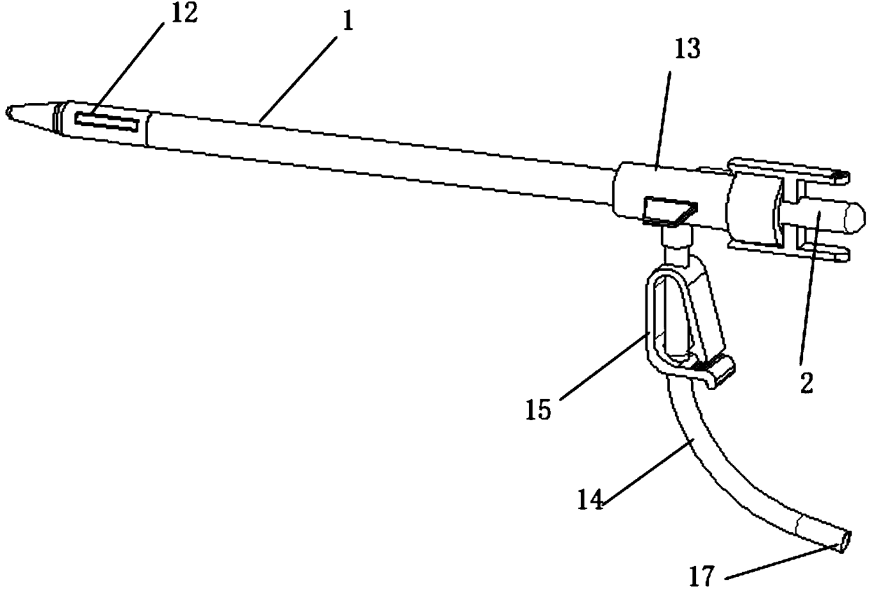
一种输尿管镜膀胱减压装置
授权日:
1900-01-01
公开(公告)号:
CN104739358A
申请日:
2015-03-26
公开(公告)日:
2015-07-01
当前申请(专利权)人:
中国人民解放军第二军医大学
发明人:
孙颖浩
简单同族:
CN104739358A
简单同族成员数量:
1
简单同族被引用专利总数:
0
诉讼案件数:
0
法律状态/事件:
驳回