首页
专利数据库
产业人才
行业动态
产业政策法规
维权援助
个人中心
登录/注册
详情
文本
图像
标题:
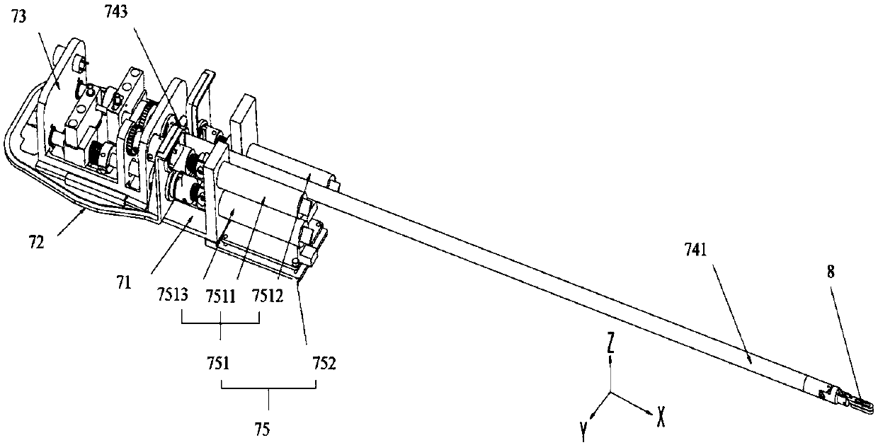
一种手术机器人
授权日:
1900-01-01
公开(公告)号:
CN111096793A
申请日:
2018-10-09
公开(公告)日:
2020-05-05
当前申请(专利权)人:
成都博恩思医学机器人有限公司
发明人:
李耀 | 龚俊杰 | 凌正刚 | 陈超 | 刘通
简单同族:
CN111096793A
简单同族成员数量:
1
简单同族被引用专利总数:
0
诉讼案件数:
0
法律状态/事件:
实质审查