首页
专利数据库
产业人才
行业动态
产业政策法规
维权援助
个人中心
登录/注册
详情
文本
图像
标题:
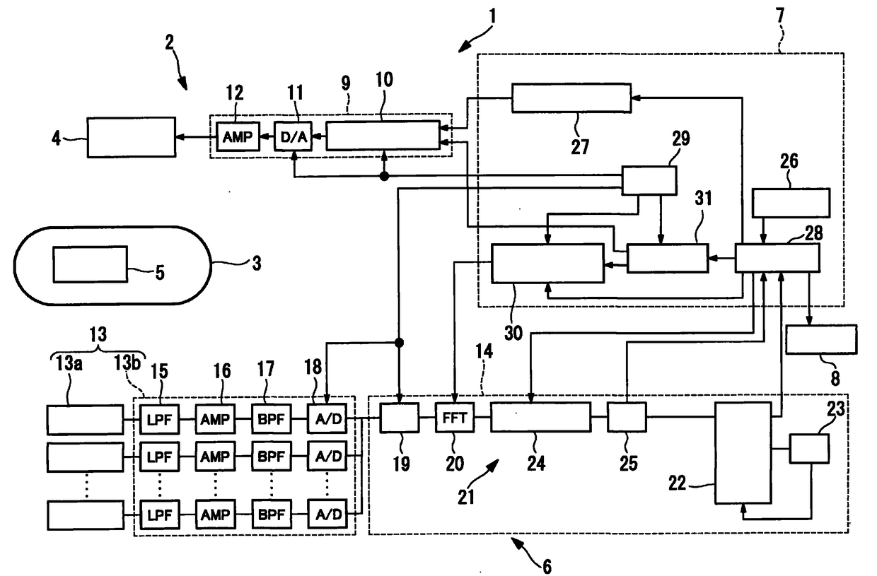
位置检测系统、医疗装置引导系统以及位置检测方法
授权日:
2011-11-02
公开(公告)号:
CN101553159B
申请日:
2007-11-27
公开(公告)日:
2011-11-02
当前申请(专利权)人:
奥林巴斯株式会社
发明人:
内山昭夫 | 佐藤良次 | 木村敦志
简单同族:
CN101553159A | CN101553159B | EP2087832A1 | EP2087832A4 | EP2087832B1 | JP2008132047A | JP4869040B2 | US20100073185A1 | US8260398 | WO2008066036A1
简单同族成员数量:
10
简单同族被引用专利总数:
58
诉讼案件数:
0
法律状态/事件:
未缴年费